breathing systems Flashcards

(49 cards)

1
Q

advantages of a circle breathing system…

A

efficient - low flows and recycled gas’s , less waste hence better for environment

also means conservation of heat and humidity of gases

How well did you know this?
1
Not at all
2
3
4
5
Perfectly
2
Q

what happens if unidirectional valves in a circle system malfunction?

A

Malfunction of the unidirectional valve leads to mixing of inspired gas with expired gas containing CO2and results in hypercapnIa.

How well did you know this?
1
Not at all
2
3
4
5
Perfectly
3
Q

size of MESH granules in CO2 canister

A

4 to 8 mesh

i,e, particles that could fit through a mesh that has four equal strands per linear inch in both vertical and horizontal axes = 4 mesh.

How well did you know this?
1
Not at all
2
3
4
5
Perfectly
4
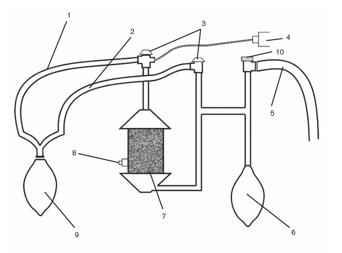
Q
A
  1. Inspiratory limb; 2. Expiratory limb; 3. Unidirectional valve; 4. Fresh gas flow; 5.
    Scavenging; 6. Reservoir bag; 7. Soda lime canister; 8. Water drain; 9. Simulated
    lung; 10. APL valve
How well did you know this?
1
Not at all
2
3
4
5
Perfectly
5
Q

what are the features of an ideal breathing circuit?

A

an ideal breathing system has 3 main functions - deliver O2, deliver anaesthetic gas, remove CO2 and waste or avoid rebreathing.

environmental
* produce minimal anaesthetic waste - low flows
* have the option of being attached to scavenging
* cheap to produce, with some parts being reusable by use of a filter.

user friendly
* compact
* intuitive

patient features
* efficient for both SV and CV
* no rebreathing , low deadspace
* low resistance to flow
* suitable for all ages
* protects from barotrauma

How well did you know this?
1
Not at all
2
3
4
5
Perfectly
6
Q

how can breathing systems be classified?

A

open and closed, with 2 classifications in between - semi open and semi closed.

open - patients airway is open to atmosphere. schimelbush mask. no rebreathing but no control.

semi open - volatiles carried by FGF and diluted by air e.g. hudson mask/ venturi mask. very inefficient, need high FGF dilution.

semi closed - volatiles carries by FGF but not diluted by room air. may be further categorised to rebreathing and non rebreathing. rebreathing includes circle system with APL valve open. non rebreathing is the mapelson classification.

closed - circle system with completely closed APL valve. hence rebreathing system and therefore must have CO2 absorber. usually never fully closed as risk of high pressures building up.

How well did you know this?
1
Not at all
2
3
4
5
Perfectly
7
Q

Draw mapelsons classification…

A

classification of semi-open breathing systems. labelled A to E, later F was added as the jackson rees modification.
based on position of key components.

mapelson A a.k.a magill
C = water circuit
E= ayers T piece
F = jackson reese modification

How well did you know this?
1
Not at all
2
3
4
5
Perfectly
8
Q

what is meant by a co-axial system?

A

the inspiratory and expiratory tubing are within one another

e.g. mapelson A has a co-axial system = lacks
e.g. mapelson D has a co-axial system = bains

A - the expiratory limb is inside
D - the inspiratory limb is inside

in lacks, the reservoir bag is within the inspiratory limb whereas for bains its within expiratory.

How well did you know this?
1
Not at all
2
3
4
5
Perfectly
9
Q

what FGF is required for mapelson A and D ?

A

mapelson A more efficient for SV, D for CV

A:
* SV = MV = 70ml/kg
* CV = 2-3x MV = 200ml/kg

D:
* SV = 2-3x MV = 200ml/kg
* CV = MV = 70ml/kg

How well did you know this?
1
Not at all
2
3
4
5
Perfectly
10
Q

explain how the magils A works for SV?

A

patient inspires,
inspiratory pause, bag starts to fill FGF
during expiration dead space gas exists first and enters and fills the bag.
by the time alveolar gas high in CO2 exits, it is preferentially removed via APL
in next inspiration bag is emptied containing FGF and dead space gases so there is minimal rebreathing of CO2 if the FGF matches the MV.

How well did you know this?
1
Not at all
2
3
4
5
Perfectly
11
Q

what are the problems with mapelson A

A

bulky
APL valve near patient so hard for scavenging. the co-axial version helps with this.
no good for CV

How well did you know this?
1
Not at all
2
3
4
5
Perfectly
12
Q

tell me about mapelson B

A

not really used anymore
inefficient - rebreathing at high FGF - both SV and CV around 2-3x MV

How well did you know this?
1
Not at all
2
3
4
5
Perfectly
13
Q

when is mapelson C used?

A

very inefficient however much less bulky so used for convienence in emergencies/ transfers

FGF 2.5xMV for SV/CV

another advantage = less dead space

How well did you know this?
1
Not at all
2
3
4
5
Perfectly
14
Q

tell me about the breathing circuits used in paediatrics (under 20kg) …

A

typically E and F
this is because no valves and low resistance to breathing. v light weight. minimal deadspace.

Jackson rees mod includes an open ended bag such that control ventilation + PEEP could be delivered.

both require high FGF - 2-3xMV
therefore wasteful and can result in theatre pollution.
both are more efficient for CV than SV

How well did you know this?
1
Not at all
2
3
4
5
Perfectly
15
Q

what are the pros and cons of mapelson D …

A

pros = efficient for CV , can be used as co-axial system (bain) more compact and handy. APL valve position is better for scavenging

cons - not good for SV , more deadspace compared to C.

How well did you know this?
1
Not at all
2
3
4
5
Perfectly
16
Q

what is the main risk of a co-axial system?

A

disconnection of inner tube supplying FGF. this would convert entire thing to deadspace and would get significant rebreathing.

kinking or damage to inner tube which cant be seen. - no FGF

How well did you know this?
1
Not at all
2
3
4
5
Perfectly
17
Q

what FGF is required for a 100kg person using Bain?

A

CV
70ml/kg/min
7L/min

around 1x MV

How well did you know this?
1
Not at all
2
3
4
5
Perfectly
18
Q

what methods prevent re-breathing in mapelson system?

A

there is no CO2 absorber so use other ways

  • FGF adequate to replace exhaled air
  • reservoir bag to fill with FGF during inspiratory phase - otherwise FGF would have to be very high - i.e. peak inspiratory rate
  • APL valve to vent off waste gases
How well did you know this?
1
Not at all
2
3
4
5
Perfectly
19
Q

what is rebreathing

A

rebreathing is the process of inhaling previously exhaled gases. it occurs if the deadspace of a breathing apparatus is more than TV.

expired gases consist of deadspace gas and alveolar gas. if rebreathing is enough to include alveolar gas It can result in accumulation of CO2.

extent of rebreathing depends on
* dead space of the circuit,
* its design i.e. positioning of FGF vs APL v,
* patients MV ,
* FGF rate
* mode of ventilation

How well did you know this?
1
Not at all
2
3
4
5
Perfectly
20
Q

what is this…

A

Humphreys ADE circuit

uses a lever to switch between A , D and E circuits.
hence can be used in SV, CV and paediatrics.

the lever determines direction of FGF

consists of:
* inspiratory and expiratory tubing
* lever
* FGF
* reservoir bag
* APL valve

21
Q

what does the lever position in humphrey indicate?

A

lever up= A
down = D
down + remove ventilator / bag attached = E

22
Q

within the humphrey circuit there is a safety relief valve, what pressure does this open?

23
Q

what FGF is required for 100kg person using mapelson A?

A

70ml/kg/min
(could be slightly lower like 60ml/kg/min)

i.e. 0.8-1x MV

24
Q

advantages of humphrey ADE?

A

versatile - CV, SV, paeds
can add soda lime
easy scavenging

25
what is a parallel lacks circuit?
26
why is bain often used in MRI?
the tubing can be of unlimited length because the FGF is delivered directly to patient however increasing tubing does increase resistance.
27
where is ayres T piece seen used?
weaning tracheostomy patients in threatre when removing patient on i gel to recovering.
28
what is an APL valve?
adjustable one way spring loaded disc valve when pressure increases , enough force to push the spring up and open a gap to allow gas to escape the valve can be opened which adjusts the spring e.g. if opened to 1cmH20 only this amount of extra pressure needed from the gas to open the valve if closed down, then more pressure is required to push spring open. e.g. 70cmH20 helps prevent barotrauma, can be used to give PEEP, can be attached to scavenging.
29
what is the function of the reservoir bag?
latex free extensible bag usually 2L used in adults 1L or 0.5L available for paeds. acts as a reservoir for next breathing, meaning the FGF can be used during expiration and is not wasted. visual aid for ventilation allows controlled/ assisted ventilation limits barotrauma by acting as a buffer for pressure within the system.
30
what is an ambu bag?
self inflating bag valve mask device used in emergencies the plastic used self inflates such that can be used without FGF can remove mask and attach bag directly to ET tube or LMA. its self inflating function is useful however during SV, it wont show ventilation i.e. bag wont collapse and distend.
31
describe the circle breathing system...
This is a closed breathing system used on most modern anaesthetic machines to reduce flow rates and minimise pollution it has a number of key components: 1. patient expires through 1 wave expiratory valve 2. gas flows down expiratory limb 3. APL valve positioned to vent excess gas 4. reservoir bag, ventilator are next 5. soda lime removes CO2 6. FGF added 7. down inspiratory limb via 1 way valve since CO2 is being removed, the other gases and humidifed air can be recycled. this means low FGF can be used, and less waste theoretically at equilibrium could have only O2 being added as anaesthetic gases have equilibrated to brain. however since a small % is metabolised, always will need to add some.
32
what are the key components in a circle breathing system to prevent re-breathing?
CO2 canister one way valves.
33
advantages and disadvantages of circle breathing system?
pros * less waste - less pollution, less cost to hospital * recycles humidified and warm gases so less work * can be used for adults and paeds, SV and CV cons * bulky and less portable. * resistance is high - increases work of SV * complex and at risk of breaking parts * valves could become stuck * risks of soda lime - compound A, CO, soda lime dust can cause pneumonitis, risk of exhaustion and rebreathing. * risk of hypoxic mixture, if care is not taken to measure EtO2 - need to ensure FiO2 is adequate enough
34
what is the purpose of the self inflating bag and APL valve in the circle system?
APL valve = protects from barotrauma. important to place before CO2 canister and FGF so that only waste gases are being vented , not useful ones self inflating bag - visualisation, prevents negative and positive excessive pressures. reservoir such that FGF can be kept to a minimum.
35
can you tell me about the one way valves used in a circle breathing system?
held within transparent dome so can see them working prevent re-breathing if they break - fixed close - increased resistance to breathing - fixed open - rebreathing
36
where might the vapouriser be within a breathing system?
inside or outside the circuit outside circuit - less work of breathing, can deliver high conc more accurately as not relying on patients breathing effort. however in circuit is good when there is limited FGF supply e.g. remote areas. inside - oxford minature outside - plenum
37
can you tell me about low flow anaesthesia. is it possible to always use low flow?
the circle breathing system permits low flow anaesthesia due to the recycling of gases. the idea is to reduce waste and environmental pollution. however this is only possible during maintainace. At the start of anaesthesia - high flows are required to build up the concentration of anaesthetic gas in the patient. also during the operation if there is a sudden need to make a patient deeper e.g. increased surgical stimulus, flows will need to be increased. once equilibrium is reached, flows can be turned down to as low as 0.5l/min
38
tell me about soda lime?
soda lime is used in circle breathing systems to reabsorb CO2 to prevent rebreathing. this is a key component of the circle system and allows very low FGF rates to be used. it consists of 75% CaOH2, NaOH as a catalyst, water, which are all held in binding agents- silica. this creates granules of 4-8 mesh. It removes CO2 via the following EXOTHERMIC reaction CO2 + H20 --> H2CO3 H2CO3 + 2NaOH --> Na2CO3 + 2H20 Na2CO3 + CaOH2 --> CaCO3 + 2NaOH this reaction occurs such that 1kg of sodalime can consume 250L of CO2. 1 canister usualy 2Kg. A dye is added to show a colour change when the CaOH is exhausted.
39
why are granules of 4-8 mesh chosen for CO2 canisters?
small enough to increase S.A but not too small to increase work of breahting/ resistance.
40
what indicator dyes are used in CO2 absorbers?
ethyl violet = white to purple titan yellow = purple to yellow phenolphthelian = pink to white. they work based on pH change as CaOH is used up hence becomes more acidic.
41
what are the alternatives to soda lime?
baralyme = barium hydroxide used instead of NaOH (no longer used - less efficient and more compound A) amsorb - CaOH and CaCl. more expensive but similar effiency without CO or compound A production.
42
what are the pros and cons of using soda lime in a breathing system?
pros - allows low flow closed system, reduced pollution and more cost effective. heat and water produced as part of reaction so helps with heat and moisuture production, reducing work. cons - compound A, CO, toxic when handling the granules, increases work of breathing.
43
tell me about the toxic products of soda lime
sevoflurane - moist soda lime promotes breakdown of sevo into compound A, B, C,D,E. compound A potentially nephrotoxic although not significant des> en> iso - Carbon monoxide in dry soda lime conditions. soda lime chemicals can damage airways
44
what is meant by the channelling effect?
the particles organise themselves to create channels throughout the sodalime of low resistance path this means soda lime lining the channels is quickly exhausted and then rebreathing can occur even though the whole CO2 cannister looks unused.
45
what is a to and fro water canister system?
similar to mapelson C but includes CO2 between bag and FGF. original name - water circuit. not used because... was too bulky also soda lime was too inflammatory to lungs. also increased deadspace and resistance to breathing
46
can you tell me about the international standardisation of connical connectors..
international system for medical equiptment ensuring safe compatibility consists of male side that fits into female. breathing system uses 22mm connectors airway equiptment 15mm scavenging 30mm
47
what is the purpose of the catheter mount ?
connects breathing system to ET tube - has 15mm end and 22mm end prevent migration of ET tube and the filter being on top of patients face.
48
what FGF is needed for bain in spontaneous vent for 100kg man?
2-3xMV 150-200L/min/kg 20L/min
49
how big is inner and outer tube in bain?
outer 22mm inner 7mm