Chapter 7: optical prescriptions, spectacle lenses Flashcards

(79 cards)

1
Q

How are lens properties described for a) spherical lenses alone b) cylindrical lens alone?

A
  • a) power only: +2.00 DS (dioptre sphere)
  • b) dioptric power AND orientation of axis e.g. -2.00 DC axis 90degrees (dioptre cylinder)
How well did you know this?
1
Not at all
2
3
4
5
Perfectly
2
Q

How are the lenses in a toric (sphero-cylindrical) lens arranged)

A

cylindrical lens usually placed in front of spherical lens to allow axis line to be seen

How well did you know this?
1
Not at all
2
3
4
5
Perfectly
3
Q

How is a toric lens prescription written?

A

spherical lens +2.00 DS and cylindrical lens +1.00 DC axis 90 degrees: +2.00 DS / +1.00 DC axis 90 (axis denotes axis of cylinder)

How well did you know this?
1
Not at all
2
3
4
5
Perfectly
4
Q

What is meant by transposition of the lens?

A

when a lens presription is changed from one lens form to another optically equivalent form e.g. switching between forms of spherical lenses

How well did you know this?
1
Not at all
2
3
4
5
Perfectly
5
Q

What does simple transposition of cylinders achieve?

A

change in the description of a toric astigmatic lens so that the cylinder is expressed in the opposite power - often necessary when examiner wishes to compare present refraction with a previous prescription

How well did you know this?
1
Not at all
2
3
4
5
Perfectly
6
Q

What are the two ways in which the lens in the image (cross diagram) can be described?

A
  • +2.00 DS / +1.00 DC @ 90 degrees
    • 3.00 DS / -1.00 DC @ 180 degrees
How well did you know this?
1
Not at all
2
3
4
5
Perfectly
7
Q

What is a quick shortcut way of transposing lens prescriptions (beyond drawing the optical cross)?

A

sum, sign, axis:
* sum - algebraic addition of sphere and cylinder gives new power of sphere
* sign - change sign of cylinder, retaining numerical power
* axis - rotate axis of cylinder through 90 degrees (add 90 if original is at or less than 90, subtract if figure is greater than 90)

[using optical cross - take value at one axis as sphere + use this position as axis in prescription, then take value on other axis (at 90o) and minus sphere value to give cylinder]

How well did you know this?
1
Not at all
2
3
4
5
Perfectly
8
Q

What is toric transposition?

A

enables toric astigmatic lens to be defined in terms of its surface powers - one spherical surface and one toric surface (latter contributing cylindrical power), principal meridian of weaker power of toric surface is the base curve of the lens

How well did you know this?
1
Not at all
2
3
4
5
Perfectly
9
Q

What is a base curve and when must it be specified?

A

principal meridian of the weaker power of the toric surface in a toric astigmatic lens; must be specified if toric transposition of a lens prescription is required

How well did you know this?
1
Not at all
2
3
4
5
Perfectly
10
Q

How is a toric formula written and what does each part represent?

A
  • top line (numerator) is surface power of spherical surface
  • bottom line (denominator) defined surface power and axis of base curve, followed by dash then surface power and axis of the OTHER principal meridian of the toric surface
  • see example in image:
How well did you know this?
1
Not at all
2
3
4
5
Perfectly
11
Q

What are the 4 steps of transposing a toric formula to a sphero-cylindrical formula e.g. +3.0 DS/+1.0 DC axis 90 to BC -6.00 D?

A
  1. transpose prescription so that cylinder and base curve are of the same sign i.e. in the example transpose formula so +1.0 is a negative value (use optical cross or SSA rule): +4.00/-1.00 @ 180degrees
  2. calulate required power of spherical surface (numerator of final formula). subtract base curve power from spherical power given in step 1. in example= 4.00 - (-6.00) = +10.00 DS
  3. specify axis of base curve (first part of denominator). value is base curve, axis is 90 degrees to cylinder in step 1. in example = -6.00 D axis 90
    4.add required cylinder to base curve power with axis from step 1 to give second part of denominator: in example = -1 + -6 = -7.00 DC axis 180

Final equation = +10 DC / (-6.00 DC axis 90 degrees/ -7.00 DC axis 180 d

How well did you know this?
1
Not at all
2
3
4
5
Perfectly
12
Q

Transpose the following examples into toric lens prescriptions:

A
How well did you know this?
1
Not at all
2
3
4
5
Perfectly
13
Q

How can a practitioner detect what type of lens a patient has (spherical / astigmatic / prism)?

A

when two lines are viewed through the lens:
* spherical lens: no distortion of cross. when moved - convex: cross moves in opposite direction. concave: cross moves in same direction. (rotation= no effect on image)
* astigmatic: distortion of cross UNLESS axes coincide with the lines. rotation of lens causes scissors movement of lines

How well did you know this?
1
Not at all
2
3
4
5
Perfectly
14
Q

Once the principal meridians of an astigmatic lens have been identified with a cross diagram how can each meridian be assessed to determine if concave/convex?

A

each meridian may be eamined as for a spherical lens

How well did you know this?
1
Not at all
2
3
4
5
Perfectly
15
Q

How can the optical centre of a lens be found with a cross diagram?

A

by moving the lens one cross line is undisplaced. line is drawn on lens surface, superimposed on the undisplaced cross line. process then repeated for cross line at 90 degrees. point where lines drawn intersect is optical centre of lens

How well did you know this?
1
Not at all
2
3
4
5
Perfectly
16
Q

What will a prism show when placed over a cross diagram?

A

it has no optical centre therefore it will displace one line of the cross regardless of its position. the direction of displacement is constant

How well did you know this?
1
Not at all
2
3
4
5
Perfectly
17
Q

When is the cross diagram test for assessing lenses most effective?

A

if the cross lines are placed at the furthest convenient distance and the lens held well away from the eye

How well did you know this?
1
Not at all
2
3
4
5
Perfectly
18
Q

How can a cross diagram be used to determine the power of an unknown lens?

A

once the nature of the unknown lens is determined, lenses of opposite type and known power are superimposed upon the unknown lens until a combination is found which gives no movement of the image of the cross lines when the test is performed

How well did you know this?
1
Not at all
2
3
4
5
Perfectly
19
Q

What is meant by a neutralising lens?

A

the dioptric power of the unknown lens must equal that of the trial lens of the opposite sign (e.g. +2.0 D neutralises a -2.0 D lens)

How well did you know this?
1
Not at all
2
3
4
5
Perfectly
20
Q

How are spectacle lenses named and how is this value determined?

A

by their back vertex power: neutralising lens is placed in contact with the back surface of the spectacle lens however with many highly curved lenses this isn’t possible (air space intervenes) - therefore needs to be placed against front surface

How well did you know this?
1
Not at all
2
3
4
5
Perfectly
21
Q

Why is neutralisation inaccurate for curved lenses of >2.00 D power?

A

not possible to place neutralising lens against highly curved back surface so it is placed against front surface, error of up to 0.5 D may occur with powerful lenses

How well did you know this?
1
Not at all
2
3
4
5
Perfectly
22
Q

What is an instrument that can be used to measure the surface powers of a lens by measurement of the surface curvature?

A

Geneva lens

How well did you know this?
1
Not at all
2
3
4
5
Perfectly
23
Q

What is the total power of a thin lens equivalent to?

A

the sum of its surface powers

How well did you know this?
1
Not at all
2
3
4
5
Perfectly
24
Q

What correction must be applied and why for a Geneva lens?

A

correction factor must be applied for lenses made of refractive indices** other than crown glass** as this is what the isntrument is calibrated for (refractive index 1.523)

How well did you know this?
1
Not at all
2
3
4
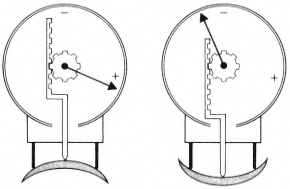
5
Perfectly
25
What instrument can be used to measure the vertex power of a lens, the axes and major powers of an astigmatic lens and the power of a prism?
Focimeter
26
What are the 2 parts that a focimeter consists of?
1. Focusing system: illuminated target + collimating lens 2. Observation system: telescope + adjustable eyepiece
27
What 2 parts does the focusing system of a focimeter comprise of?
1. Illuminated target 2. Collimating lens
28
What is a collimating lens?
one that renders light parallel
29
What is the target in a focimeter?
ring of dots formed by a disc in which a circle of small holes is punched and behind which there is a light source
30
When are the emerging light rays rendered parallel in a focimeter?
then the target is located at the first principal focus of the collimating lens
31
What key thing does the observational system in a focimeter consist of?
telescope with an adjustable eyepiece that should be focused at infinity
32
What 2 things are present in the telescope eyepiece of the observation system of the focimeter?
**graticule** and **protractor** **scale** for measuring axes of cylindrical lenses and prismatic power
33
How should the focimeter be prepared prior to use?
* instrument should be set to zero * eyepiece should be adjusted until dots and graticule are sharply focused * lens being tested is place in a special rack which lies at the second principal focus of the collimating lens
34
What is focused at the a) first principal focus and b) second principal focus of the collimating lens of a focimeter?
* a) target is located at first prinicipal focus of the collimating lens (+ emerging light rays are parallel) * b) lens being tested should be at second principal focus of the collimating lens
35
What type of light is used for illumination in a focimeter and why?
green light, to eliminate chromatic aberration
36
How should lenses be mounted for assessment by a focimeter and why?
they must be mounted with the back surface of the lens against the rest ecause it measures the vertex power of the lens surface in contact with the lens rest
37
How should a bifocal lens be measured by a focimeter?
* as well as measuring the back vertex power of the distance portion, it is necessary to **measure the bifocal add,** i.e. the extra plus conferredby the near segment * because the supplementary power of the near segment reduces the divergence of light from the near object before it enters the distance lens, the **front vertex power is the relevant measuremen**t for the near segment * therefore must measure **front vertex power of both distance and near portions,** the **difference** gives the bifocal add
38
In which instances is there a significant difference between the front and back vertex power measurement of the bifocal add in bifocal lenses?
only with bifocals with high power convex (plus) distance powers
39
What causes vergence of light emerging from the collimating lens of a focimeter to be varied? What is this used to achieve?
movement of the target - is moved until the light entering the observation telescope is parallel + focused image of target is seen by the observer
40
What is the distance through which the target is moved when using a focimeter directly related to?
the dioptric power of the lens under test
41
To summarise how does a focimeter give the dioptric power of a lens?
the target is moved until light entering the observation telescope produces a focused image of the target for the observer; the distance it is moved is directly related to the dioptric power of the lens
42
What does the target look like in a focimeter when a spherical lens is tested?
a ring of dots
43
What does the target look like in a focimeter when an astigmatic lens is tested?
the target must be focused separately for the two principal meridians; dots are seen as **drawn-out lines,** the **length** of the lines being proportional to the **difference between the two principal powers** (i.e. the cylindrical power of the lens)
44
What are the 3 steps of examining an astigmatic lens on the focimeter?
1. the instrument is adjusted until one set of line foci is in focus and the reading is recorded - gives **spherical** power 2. then the instrument is further adjusted until the second set of line foci come into focus and reading and axis of the lines is recorded - algebraic subtraction of first reading from second gives **cylindrical** power 3. the **axis** of the cylinder corresponds to the axis of the **second** reading
45
What are 2 reasons why a spectacle lens may have a prismatic effect?
1. if it has a prism incorporated in it 2. because it has been decentred
46
How can a focimeter determine the power of a prismatic lens?
the cross-lines of the graticule are calibrated in intervals of one prism dioptre, enabling the prism power to be determined
47
How is the image through a prismatic lens seen and why?
the image is see displaced towards the base of the prism because the image of the target is inverted by the eyepiece telescope
48
How can a focimeter detect the prismatic effect of a lens which has been decentred?
* the centre of th elens should be marked (most machines incorporate a marker) * the marked spectacles are then put onto the patient and the degree of decentration measured by observing the relationship between the centre of the patient's pupil and the optical centre of the lens * prism power is P=FxD where P is prismatic power in prism dioptres, F is lens power in dioptres, D is decentration in centimetres
49
What are 3 factors that the degree to which a beam of light is deflected as it passes through a lens depends upon?
1. the **focal** **power** of the lens 2. the **prismatic** **power** 3. the **distance** from its optical centre
50
How does the automated focimeter work?
square pattern of four **parallel beams of light **is passed through the lens to be tested; the deflected beams strike a photosensitive surface which measures the **deviation of each of the beams** from its original path to compute the lens measurements
51
What are the 2 types of tinted lenses?
absorptive or reflective: absorptive tints absorb light passing through them, reflective tint reflects unwanted wavelengths
52
How does for e.g. a yellow tinted filter work?
absobs all wavelengths of light except those in the yellow part of the spectrum, which it transmits
53
What is a neutral density filter?
one which absorbs all wavelength of light to the same degree + doesn't alter the spectral composition of light
54
What is a photochromic tint?
some lens are of fixed colour (e.g. fluorescein angiography), but with photochromic, transmission characteristics vary with the intensity of incident light
55
What are 3 ways in which tint can be applied to tinted lenses?
1. permeation 2. coating 3. solid tint
56
How are most plastic lenses tinted?
by immersion in a dye which permeates the lens to a uniformdepth to produce an even tint; darker tints are produced by prolonged immersion
57
What are 4 examples of absorptive coatings applied to lens surfaces and 2 examples of reflective coatings?
1. absorptive: Cr, NiCr, MgF2, SiO 2. reflective: Cr, NiCr
58
How can the performance of a tinted lens be plotted on a graph?
transmittance curve - plots the percentage transmission of incident light for each wavelength
59
What proportion of solar radiation is comprised of UV light?
5%
60
What absorbs almost all solar UV-C radiation eaching the earth?
ozone in the earth's atmosphere
61
What proportion of light reaching the earth's surface isi UV-A vs UV-B?
90% is UV-A, 10% is UV-B
62
In addition to the sun what are 2 further sources of UV light exposure?
1. arc welding 2. UV-emitting light bulbs
63
Whhich type of lenses absorb UV light shorter than 370nm?
CR39 lenses
64
Why are filters for IR wavelengths near 1400nm usually incorporated into protective goggles/face masks?
because IR wavelengths near this wavelength are very hazardous
65
What is the role of heat absorbing filters for IR light?
they also act as IR filters but maximise the trnasmission of visible light
66
What is the tint of blue light filters and what is their function?
* vary in tint between yellow and red (i.e. filter OUT blue light) * increase contrast and facilitate distinction of light and dark areas, used by moutaineers and siers
67
What are the properties of photochromic lenses in general?
the lens becomes darker in righter light; process of darkening is more rapid than that of lightening (reations different in glass and plastic)
68
What materials are used to make glass photochromic lenses and how does this work?
colourless silver halide crystals suspended in borosilicate; electromagnetic energy dissociates the silver and halogen to cause darkening
69
What does the tint of glass photochromic lenses depend upon?
each type of glass has an optimum activating (usually UV or blue) and bleaching wavelength; tint will depend upon which wavelength predominates
70
What property opposes the effect of light of glass photochormic lenses and what effect does this have?
heat - darkens more easily when cold and lightens more easily when warm
71
What happens to the properties of glass photochromic lenses over time if used repeatedly?
becomes gradually darker
72
What is used to make plastic photochromic lenses and how do they work?
number of organic photochromic ocmpounds used to coat or impregnate plastic lenses; more wavelength specific and undergo structural transformatino when stimulated
73
What happens to plastic photochromic lenses with time?
fatigueability reduces the darkening which occurs (opposite from glass)
74
In what conditions are photochromic lenses unsuitable for use and why?
situations where lighting conditions change rapidly e.g. when driving through tunnels, because of time delay in reaction of photochormic lenses
75
How do anti-reflective coatings on lenses work?
if the lens is coated with a material which is a **quarter of a wavelength** of the incident light, light rays which are reflected from the *lens* surface travel a distance of 0.5 wavelength further than those reflected from the *coating* surface - causing **destructive interference and reduces reflection of light**
76
What will be the effect of a lens coating which has a thickness of half the wavelength of the incident light?
will cause constructive interference resulting in a mirror coating
77
What are mirror coatings of lenses usually combined with?
absorptive tint
78
How do anti-reflective coatings on lenses work?
if the lens is coated with a material which is a **quarter of a wavelength** of the incident light, light rays which are reflected from the *lens* surface travel a distance of 0.5 wavelength further than those reflected from the *coating* surface - causing **destructive interference and reduces reflection of light**
79
Once the principal meridians of an astigmatic lens have been identified with a cross diagram how can each meridian be assessed to determine if concave/convex?
each meridian may be eamined as for a spherical lens