forgings tend to be stronger and tougher than similarly shaped castings due to…?
grain flow and fibres gives forgings improved strength through preferential arrangement of the materials structure
a brinell indentor is what shape ?
A brinell indentor is a ball of hardened steel or tungsten carbide
impact tests measure a materials ?
impact tests measure shock resistance. Test such as izod and charpy are used.

the izod test measures what?
izod is an impact test

as the amount of cold work increases the recrystallisation temperture ?
the recrystallisation temperture decreases as the amount of cold working increases
select the process involving deformation
a-rolling, forging,extrusion
b-forging,casting,extrusion
c-grinding spinninng welding
d-machining,drawing,powder metallurgy
a-is the only answer combination where all three processes involve deformation
identify two methods of controlling a motors speed externally and internally
externally- gearing and pulley control
internally- varying voltages or changing connections to various windings
what is normalising ?
normalising is a heat process for ferrous alloys involving heating the material above the upper critical temperature then cooling in still air, the objective being to enhance toughness by refining grain structure
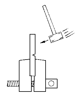
what is forging ?
compressive forces causing plastic deformation resulting in improved strength due to preferential grain flow or fibre

what is pascals principle
stated as follows: pressure applied anywhere on a confined fluid is transmitted undiminished in every direction
what is extrusion ?
a forming technique whereby a material is forced by compression through a die orifice

what is hardness ?
hardness is the measure of a materials resistance to deformation by surface indentation or abrasion
what is casting ?
A term referring to a liquid (molten metal) is poured into a shaped mould cavity where it solidifies; this method is used to produce complex components with properties difficult to achieve otherwise

outline the steps involved in production of powder metallurgy parts
1-perparation and blending of powders
2-pressing of powders in prepared dies
3-sintering of compacted material below its melting points
given a machanical advantage of 6 for a simple machine the velocity ratio will always be ?
greater or equal to 6 dependent on the efficiency
what is a semiconductor ?
a substance whoses electrical conductivity is intermediate between that of a metal and insulator