Constitution of Matter
constituted of electrically charged particles
What do electric charges create
Electric Charge unit
measured in coloumbs(C)
how are the phenomena that occur in presence of electric fields described as
described by quantities such as an:
Electric potential
electrostatic potential φ
Electric current
flow of electric charges
3 requirements for current to occur
Conducting media
can be solids, liquids, gases
Electromotive force
Free charge
Electric current strength
total charge moving per unit time
I = Q/t
measured in Ampere
1 Ampere equals to 1 Coulomb passing per second

3 types of media in terms of their electric properties
conductors, semiconductors and non-conductors
difference is based on:

Solid conductors

e. g. metals - cooper and aluminum because of their good conductivity.
- characterised by high density of free charge carriers
- provides conduction of high magnitude current
Semiconductors
Two main electric current types
Direct current (DC)
Alternating current (AC)

Main parameters of AC
frequency f
amplitude I0 (PEAK VALUE)
Time relation of AC
I = I0 Sin (time x freq. x 2π
T= 1/freq,

Direct currents
A) Constant Current
B) Pulse Direct Current

Fundamental qualities in the reaction of any conducting medium to electric currents
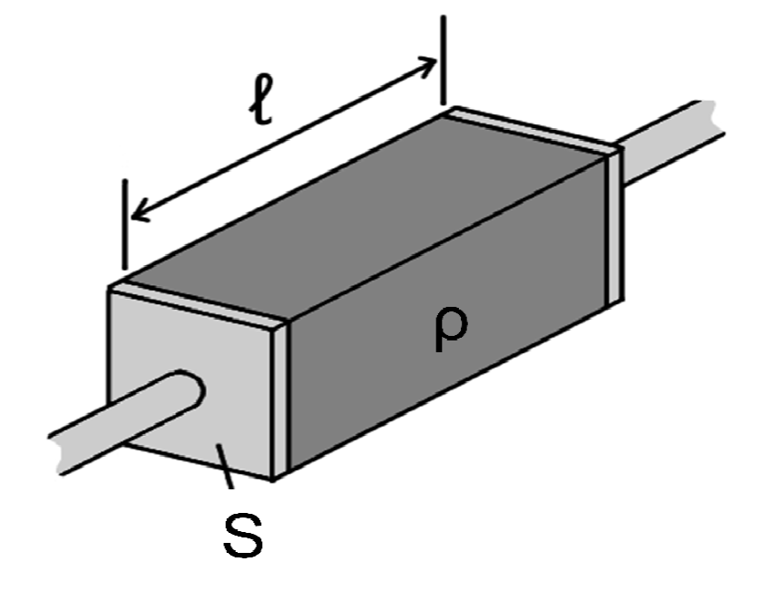
Electrical resistance
defined as the ratio of the voltage applied over the electric current which flows through it
R= p (I/S)
ρ - specific resistance, feature of the material
l – length
S – cross section

Ohm’s law
I = V/R

Capacitance
C=Q/V

Capacity resistance
Xc = 1/ωC
ω - electric current circular freq.
Transformation of energy of current passing through capacitor
in capacitor, the energy of the current passing is transformed to electric field
